2L(US) Series 2/2 Way Solenoid Valve
SERIES: 2L(US) Series 2/2 Way Solenoid Valve
2L(US) Series 2/2 Way Solenoid Valve
FEATURES
|
|
Air,Water,Steam
|
|
|
Guide Type
|
|
|
Normal Close Type
|
|
|
20 CST(Below)
|
|
|
Air,Water,Steam:0.1~1.5MPa
|
|
|
2.25MPa
|
Ordering Code
Specification
| Model | 2L170-10 | 2L170-15 | 2L170-20 | 2L200-25 | 2L300-35 | 2L300-40 | 2L500-50 |
| Working Medium | Air,Water,Steam | ||||||
| Motion Pattern | Guide Type | ||||||
| Type | Normal Close Type | ||||||
| Aperture of Flow Rate(mm) | 17 | 22 | 30 | 50 | |||
| CV Value | 4.8 | 12 | 20 | 48 | |||
| Port Size | G3/8" | G1/2" | G3/4" | G1" | G11/4" | G11/2" | G2" |
| Operation Fluid Viscosity | 20 CST(Below) | ||||||
| Working-pressure | Air,Water,Steam:0.1~1.5MPa | ||||||
| Max Pressure Resistance | 2.25MPa | ||||||
| Operating Temperature Range | ‐5~+180℃ | ||||||
| Voltage Range | ±10% | ||||||
| Material of Body | Brass | ||||||
| Material of Oil Seal | PTFE | ||||||
Overall Dimensions
| Model | A | B | C | D | K |
| 2L170-10 | 125 | 38 | 146 | 76 | G3/8" |
| 2L170-15 | 125 | 42 | 146 | 81 | G1/2" |
| 2L170-20 | 125 | 47 | 146 | 84 | G3/4" |
| 2L200-25 | 136 | 54 | 162 | 91.5 | G1" |
| 2L300-35 | 148 | 76 | 185 | 111 | G11/4" |
| 2L300-40 | 148 | 76 | 185 | 111 | G11/2" |
| 2L500-50 | 176 | 88 | 223 | 164 | G2" |
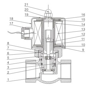
Other info
| NO | Name |
| 1 | Body Of Value |
| 2 | Assembly Of Piston |
| 3 | Springiness Spacer |
| 4 | Wear Strip |
| 5 | Spring |
| 6 | Nut |
| 7 | O-ring |
| 8 | Assembly Of Iron Core |
| 9 | Magnetic Plate |
| 10 | Gasket |
| 11 | Bush |
| 12 | Assembly Of Iron Core |
| 13 | Assembly Of Coil |
| 14 | Bush |
| 15 | Gasket |
| 16 | Magnetic Plate |
| 17 | Cord-locks |
| 18 | Iron Cover |
| 19 | Name Plate |
| 20 | Gasket |
| 21 | Head Cover Nut |


